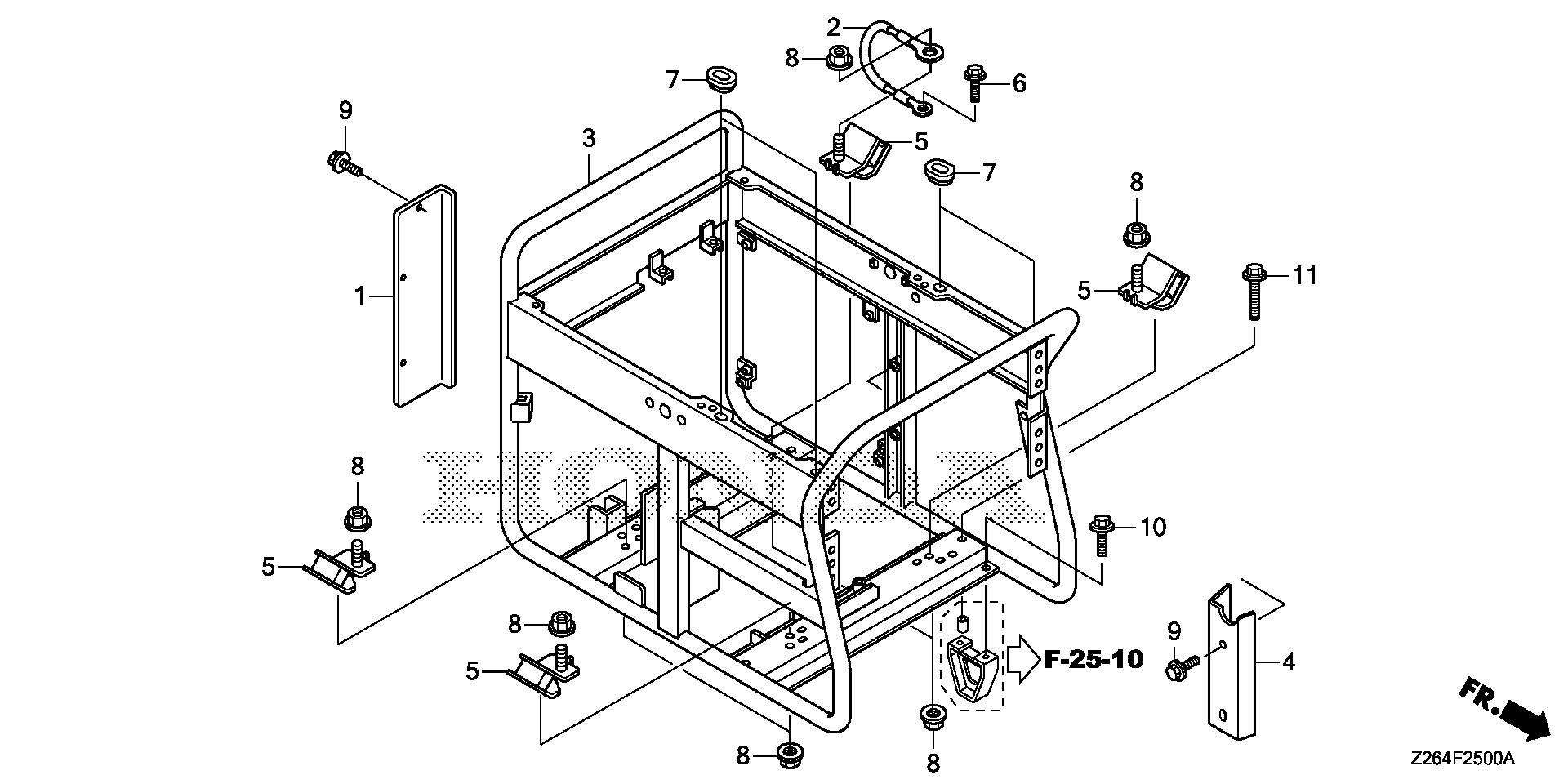
Generators EB EB10000 EB10000 AN2 EBVC-1600001-9999999 FRAME PIPE - Weingartz Supply Company

Ref No
Part Number
Description
Serial Range
Qty
Price

Ref No
1
Part Number
17358-Z26-F30ZA
Description
GUARD B, CANISTER *NH105* (MAT BLACK)
Serial Range
1000001 - 9999999
Qty
Price
$99.96

Ref No
2
Part Number
32610-Z26-C40
Description
CABLE, SUB-GROUND
Serial Range
1000001 - 9999999
Qty
Price
$6.20

Ref No
3
Part Number
50310-Z26-C30ZA
Description
FRAME *NH105* (MAT BLACK)
Serial Range
1000001 - 9999999
Qty
Price
$1,763.36

Ref No
4
Part Number
63332-Z26-F30
Description
SHROUD, SIDE FRAME
Serial Range
1000001 - 9999999
Qty
Price
$41.06

Ref No
5
Part Number
68325-Z26-E80
Description
RUBBER (LOWER)
Serial Range
1000001 - 9999999
Qty
Price
$68.88

Ref No
6
Part Number
90148-SE0-003
Description
BOLT, GROUND (6X16) (WASHER 12.5MM) (ZN)
Serial Range
1000001 - 9999999
Qty
Price
$10.54

Ref No
7
Part Number
91651-Z26-000
Description
GROMMET, COVER
Serial Range
1000001 - 9999999
Qty
Price
$4.40

Ref No
8
Part Number
94050-10000
Description
NUT, FLANGE (10MM)
Serial Range
1000001 - 9999999

Ref No
9
Part Number
95701-06012-07
Description
BOLT, FLANGE (6X12)
Serial Range
1000001 - 9999999
Qty
Price
$1.98

Ref No
10
Part Number
95701-08020-07
Description
BOLT, FLANGE (8X20)
Serial Range
1000001 - 9999999
Qty
Price
$2.28

Ref No
11
Part Number
95701-08045-07
Description
BOLT, FLANGE (8X45)
Serial Range
1000001 - 9999999
Qty
Price
$2.78