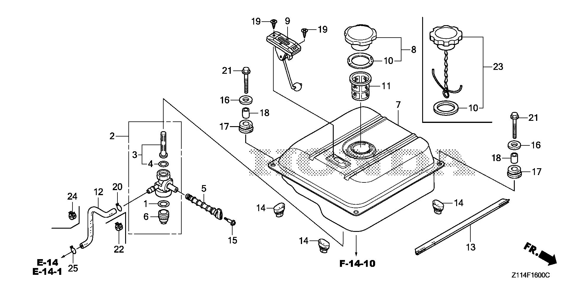
Generators EB EB5000 EB5000I A EALJ-1000001-9999999 FUEL TANK - Weingartz Supply Company

Ref No
Part Number
Description
Serial Range
Qty
Price

Ref No
1
Part Number
16173-001-004
Description
O-RING
Serial Range
1000001 - 9999999

Ref No
2
Part Number
16950-Z11-003
Description
PETCOCK ASSY.
Serial Range
1000001 - 9999999
Qty
Price
$83.18

Ref No
3
Part Number
16952-KJ9-752
Description
SCREEN SET, FUEL STRAINER
Serial Range
1000001 - 9999999

Ref No
4
Part Number
16958-397-771
Description
O-RING (9.0X1.3)
Serial Range
1000001 - 9999999
Qty
Price
$7.10

Ref No
5
Part Number
16963-Z11-000
Description
LEVER, PETCOCK
Serial Range
1000001 - 9999999
Qty
Price
$4.02

Ref No
6
Part Number
16967-GA6-671
Description
CUP, FUEL STRAINER
Serial Range
1000001 - 9999999
Qty
Price
$30.12

Ref No
7
Part Number
17510-Z11-000ZA
Description
TANK, FUEL *R280* (POWER RED)
Serial Range
1000001 - 9999999
Qty
Price
$265.52

Ref No
8
Part Number
17620-899-023
Description
CAP, FUEL FILLER
Serial Range
1000001 - 9999999
Qty
Price
$40.50

Ref No
9
Part Number
17630-Z11-A31
Description
METER ASSY., FUEL
Serial Range
1000001 - 9999999

Ref No
10
Part Number
17631-899-000
Description
GASKET, FUEL FILLER CAP
Serial Range
1000001 - 9999999

Ref No
10
Part Number
17631-899-010
Description
GASKET, FUEL FILLER CAP
Serial Range
1000001 - 9999999

Ref No
11
Part Number
17672-899-000
Description
FILTER, FUEL
Serial Range
1000001 - 9999999
Qty
Price
$17.30

Ref No
12
Part Number
17701-Z11-000
Description
TUBE, FUEL TANK (ENGINE NO.)
Serial Range
1000001 - 4004556
Qty
Price
$5.42

Ref No
12
Part Number
17701-ZF6-F43
Description
TUBE, FUEL TANK (FKM)
Serial Range
4004557 - 9999999

Ref No
13
Part Number
63133-Z11-000
Description
SEAL, FR. SEPARATOR
Serial Range
1000001 - 9999999
Qty
Price
$17.04

Ref No
14
Part Number
76122-952-000
Description
STOPPER, DISCHARGE GUARD
Serial Range
1000001 - 9999999
Qty
Price
$4.62

Ref No
15
Part Number
90105-ZT3-000
Description
SCREW, PAN (4X19)
Serial Range
1000001 - 9999999
Qty
Price
$2.36

Ref No
16
Part Number
90501-Z15-000
Description
WASHER (6MM)
Serial Range
1000001 - 9999999
Qty
Price
$3.58

Ref No
17
Part Number
90851-898-000
Description
RUBBER, TANK CUSHION
Serial Range
1000001 - 9999999
Qty
Price
$5.46

Ref No
18
Part Number
91551-898-000
Description
COLLAR, TANK CUSHION
Serial Range
1000001 - 9999999
Qty
Price
$5.44

Ref No
19
Part Number
93600-05010-0A
Description
SCREW, FLAT (5X10)
Serial Range
1000001 - 9999999
Qty
Price
$0.96

Ref No
20
Part Number
95002-02080
Description
CLIP, TUBE (B8) (ENGINE NO.)
Serial Range
1000001 - 4005086
Qty
Price
$2.20

Ref No
20
Part Number
95002-02080
Description
CLIP, TUBE (B8) (ENGINE NO.)
Serial Range
1000001 - 4005086
Qty
Price
$2.20

Ref No
21
Part Number
95701-06022-07
Description
BOLT, FLANGE (6X22)
Serial Range
4137486 - 9999999
Qty
Price
$1.14

Ref No
22
Part Number
95002-40800-08
Description
CLAMP, TUBE (D8) (ENGINE NO.)
Serial Range
4005087 - 9999999
Qty
Price
$2.74

Ref No
22
Part Number
95002-40800-08
Description
CLAMP, TUBE (D8) (ENGINE NO.)
Serial Range
4005087 - 9999999
Qty
Price
$2.74

Ref No
24
Part Number
95002-40800-08
Description
CLAMP, TUBE (D8) (ENGINE NO.)
Serial Range
4005087 - 9999999
Qty
Price
$2.74

Ref No
24
Part Number
95002-40800-08
Description
CLAMP, TUBE (D8) (ENGINE NO.)
Serial Range
4005087 - 9999999
Qty
Price
$2.74

Ref No
25
Part Number
95002-02080
Description
CLIP, TUBE (B8) (ENGINE NO.)
Serial Range
1000001 - 4005086
Qty
Price
$2.20

Ref No
25
Part Number
95002-02080
Description
CLIP, TUBE (B8) (ENGINE NO.)
Serial Range
1000001 - 4005086
Qty
Price
$2.20